Advertisement
Advertisement
ISC 2020 Physics Question Paper for Class 12

ISC
•Physics•2020PDFUnknown8 pages
Download ISC Board Physics Question Paper for Class 12 of 2020 year. This Question Paper of Physics will help you in revision for the final ISC examination.
Downloaded from www.cisce.org
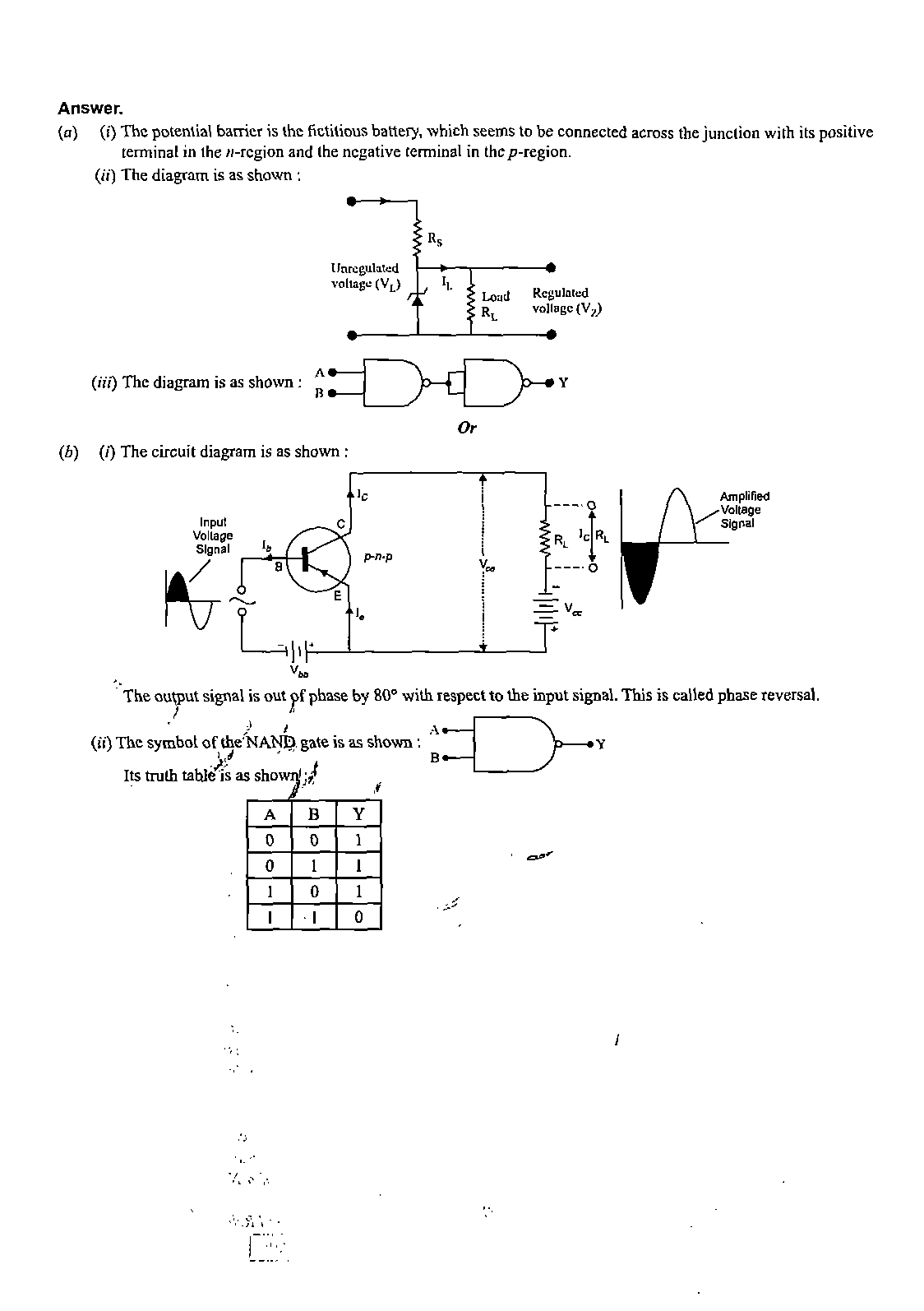
Page 1
Page 2
Page 3
Page 4
Page 5
Page 6
Page 7
Page 8
1 / 8
100%
Advertisement
Advertisement
Advertisement
Advertisement
Advertisement
Advertisement







